Když židle není jen vaše. Jak zařídit pohodlné sezení i na sdílených pracovištích
V době sdílených pracovních míst se na jednom místě střídá několik lidí – a všichni chtějí sedět pohodlně. Nikdo však nemá chuť si svou židli vždycky znova nastavovat. Odpovědí je židle jménem motiv designéra Andrease Korba, která se každému přizpůsobí sama.
EARCH.CZ , 26. 6. 2024 / Advertorial
Správné sezení je zásadní pro udržení zdraví. Jinak nás dostihnou bolesti zad, krku a obecně pohybového aparátu. Zásadní je mít vhodný stůl i pracovní židli. Ta musí mít nejen ergonomický design, ale také se přizpůsobit potřebám každého uživatele. Jedině tak může být člověk v práci produktivní a v pohodě. Nikdo ovšem nechce trávit čas nastavováním nesčetných páček, aby se konečně pohodlně posadil. Kancelářské židle by měly být okamžitě funkční, aniž by zanedbávaly ergonomii.
Důležitá je také funkce snadného ovládání.
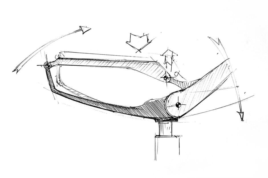
Trend důsledného zjednodušování se tak odrazil v řadě kancelářských židlí motiv společnosti Wiesner-Hager od designéra Adrease Kroba. Díky automatické detekci hmotnosti se židle přizpůsobí přesně tomu, kdo na ni právě sedí. A to vše bez nastavovacích páček.

Jak funguje?
Díky tzv. mechanismu twist-balance automaticky zjistí hmotnost člověka. Předepnutá pružina z vysokopevnostního polymerního plastu reaguje na hmotnost těla uživatele při sezení: čím větší hmotnosti je pružina vystavena, tím větší je její odpor. Tím se automaticky přizpůsobuje tlak na opěradlo, což zajišťuje pohodlné a přirozené sezení. Židle motiv se velmi dobře přizpůsobí širokému spektru uživatelů od 50 do 120 kilogramů.
Spolu s opěradlem tvoří pružina celého mechanismu jakousi svorku, která elegantně spojuje sedák a opěradlo - systém twist-balance tudíž neubírá na estetickém vzhledu židle. Zatímco vnější obrys síťového rámu má velmi dynamický design, sedák slibuje pohodlí, což se pak potvrdí při kontaktu s tělem.
Více k tématu
„Chtěl jsem, aby usednutí na židli vyvolalo pocit požitku. Pohodlí mělo být umocněno nejen velkorysým čalouněním, ale také velkorysým sedákem. Jeho celkově oblý tvar kontrastuje se spíše technickými, rovnými plochami područek a opěradla,“ shrnuje designový koncept židle motiv designér Andreas Krob.
Židle motiv je tedy odpovědí na potřeby současné doby: je elegantní, pohodlná a přizpůsobí se každému.